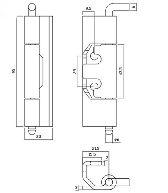
KL-LJ007

1.材质:304不锈钢2.表面处理:磁力抛光

image.png

1. Material: 304 stainless steel

2. Surface treatment: Magnetic polishing

产品型号

Product Mode

材质

Material quality

单重

Weight

装箱数

pcs

箱重

BOX  Weight

装箱规格

packing specification

LJ007304不锈钢





推荐产品 RECOMMENDED PRODUCTS

    KL-MS6018-1

    KL-MS609

    KL-111166

    KL-11114

    KL-MS-713

    KL-MS-305

    KL-MS-818

    KL-MS-606-2